如何设计一台皮带输送机?读完本文不敢说让你变成专家至少也是内行
发布时间:2021-03-02 01:23:30浏览次数:51
皮带输送线是最常用的输送设备,既可作为非标设备中一个输送组件,也可以独立使用,还可以将独立设备单元串联起来成为可实现多功能的自动化生产线。皮带线设计是机械设计工程师最基楚的设计技能。
皮带线又叫皮带式流水线,也叫皮带输送机,带式输送机或胶带输送机,是以带传动为特征的一种输送方式,是组成有节奏的流水作业线所不可缺少的经济型物流输送设备。

各种皮带输送机虽然在结构形式上有些差异,但其原理是一样的。皮带输送机结构原理如图3所示,1-输送皮带;2-从动辊;3-托板或托辊;4-驱动辊。

输送工件或物料。输送皮带运行时,工件或物料在与皮带之间的摩擦力的作用下随皮带一起运动,使工件或物料从一个位置输送到另一个位置。上方的皮带需要运送工件,为承载段;下方的皮带不工作,为返回段。
提供驱动动力,在电机驱动下转动,通过驱动辊与带之间的摩擦力驱动皮带运行。
无动力滚筒,滚筒可绕轴线自由转动。与驱动辊、张紧轮等共同作用,使皮带张紧并保持皮带与主驱动辊之间有足够的摩擦力。
支撑皮带及皮带上方的工件或物料,不使皮带下垂。对于要求皮带运行时平整度要求高的场合通常在皮带输送段的下方采用板状的托板,否则就采用能够自由转动的托辊即可。由于皮带返回段上没有承载工件,通常都间隔采用托辊支承。
由于输送工件时一般都需要使工件保持一定的位置,所以通常都在输送皮带的两侧设计定位挡板或挡条,使工件始终在直线方向上运动。
由于皮带在运动时会产生松弛,因此需要有张紧机构对皮带的张力进行调整,张紧机构也是皮带安装及拆卸必不可少的机构。
皮带线机架可根据使用要求,设计成各种结构形式。按材料类别可分为型材机架和焊接机架。
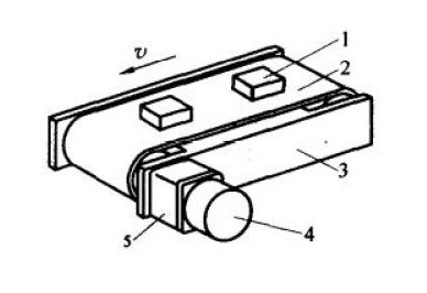
驱动辊的运动是由电机驱动来驱动的,通常是由电机经过减速器减速后再通过齿轮传动、链传动或同步带传动来驱动皮带驱动辊。也有部分情况下将电机经过减速器减速后直接与皮带驱动辊连接,节省空间。如图4所示,1-工件;2-皮带;3-挡板;4-电机;5-减速器。
从动力角度来看,分固定速度和可调速;从传输方向,可分单向传输和可变方向传输。

通常一套电机系统能够驱动的负载时有限的,对于长度较长(例如数十米)的皮带输送线,通常采用多段独立的皮带输送系统在一条直线上安装在一起拼接而成,也就是将多段独立的皮带输送系统按相同的高度固定安放在一条输送线上。
1、主要输送形式为:条形工作台、独立工作台、单边工作台、双边工作台和无工作台输送形式。
3、 皮带常用宽度为:20~ 2000mm,也可根据客户要求定做。
4、输送带的材质有:橡胶带、PVC带、帆布带、食品带等。
5、输送带的形式有:带挡板输送带、带围板、平皮带及防滑带等。
7、工作台面有:贴防火板、普通橡胶、防静电橡胶灯。
9、输送速度一般为0.1~10M/min;也可根据用户需要采用调速或定速。
10、调速有:变频调速、电磁调速、电子调速、机械调速等。

由于皮带输送是依靠工件与皮带之间的摩擦力来进行输送的,所以皮带输送机的功率一般不大,输送的物料包括单件的工件及散装的物料,主要应用在电子、通信、电器、轻工、食品等行业的手工装配流水线上。
也有少数皮带输送机应用在负载较大的特殊场合,例如矿山、建筑、粮食、码头、电厂、冶金等行业,用于散装物料的自动化输送。
带式输送机是由挠性输送带作为物料承载件和牵引件来输送物料的运输机构的一种型式。它用一根闭合环形输送带作牵引及承载构件,将其绕过并张紧于前、后两滚筒上,依靠输送带与驱动滚筒间的摩擦力使输送带产生连续运动,依靠输送带与物料间的摩擦力使物料随输送带一起运行,从而完成输送物料的任务。
本文内容来源于网络,版权归原作者所有!
文章转载分享不做商业用途,如有侵权,请联系我们删除!
a8体育老版本是一家集生产、销售进口及国产工业皮带销售的综合性专业工业皮带公司,公司自成立以来引入现金的生产工艺,先后与国内外知名皮带制造商进行广泛的交流与合作,协作开发出众多系列的特种皮带。能全面满足不同客户、不同需求的工业用带。
主营产品:输送带、特氟龙输送带、工业传输带、PU输送带、PVC输送带、工业皮带、PU开口带、接驳型同步带、橡胶输送带、不锈钢输送网带、平面高速传送带、橡胶同步带、塑料顶板链、工业毛毯输送带、电镀硅胶带、活络带、聚酯输送干网、TPU传送带、铁氟龙输送带等各类传输带。
联系我们:
电话:0769-85994530
邮箱:[email protected]?
公司官网:
地址:中国广东省东莞市厚街镇涌口龙泉工业区