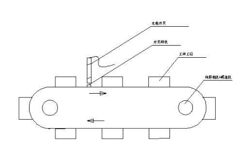
其实解决这个问题很简单,只要加一个光电开关及开关挡块,再写几条程序就可以了。


原文内容来源于网络,版权归原作者所有!
文章转载分享不做商业用途,如有侵权,请联系我们删除!
a8体育老版本是一家集生产、销售进口及国产工业皮带销售的综合性专业工业皮带公司,公司自成立以来引入现金的生产工艺,先后与国内外知名皮带制造商进行广泛的交流与合作,协作开发出众多系列的特种皮带。能全面满足不同客户、不同需求的工业用带。
主营产品:输送带、特氟龙输送带、工业传输带、PU输送带、PVC输送带、工业皮带、PU开口带、接驳型同步带、橡胶输送带、不锈钢输送网带、平面高速传送带、橡胶同步带、塑料顶板链、工业毛毯输送带、电镀硅胶带、活络带、聚酯输送干网、TPU传送带、铁氟龙输送带等各类传输带。
联系我们:
电话:0769-85994530
邮箱:[email protected]?
公司官网:
地址:中国广东省东莞市厚街镇涌口龙泉工业区
- 2026-01-15
超千家企业联合起诉特朗普关税政策,千亿关税争议进入裁决关键期! - 2026-01-14
背靠李宁、安德玛、阿迪、迪卡侬、安踏和HOKA,龙行天下为什么着急要上市? - 2026-01-13
这地汽车革需求跳水!订单危机暴击制革厂!大厂遭重创!小制革厂却能勉强存活! - 2026-01-12
安踏拟收购德国彪马29%股权 - 2026-01-09
年营收超55亿!东莞制鞋大厂启动上市! - 2026-01-08
留给女鞋的时间已经不多了!0.3%的增长,是一场集体逃亡! - 2026-01-07
新年新开局!一皮革企业通过清洁生产审核验收!有公司热火朝天赶订单 - 2026-01-06
印尼鞋厂要求,对美国实行0%关税 - 2026-01-05
重磅破局!361° 超品店规模突破126家! - 2026-01-04
鸿星尔克重磅发布 K101 无板训练跑鞋,开创 “无板练足弓” 新纪元







